“Introduction to special theory of relativity”
Galilean Transformations, Newtonian Relativity.
This was a lecture delivered to physics-elective class of a 3 year non-physics degree students on 10th April 2017. This is also a good exposition to honors students and anyone at an introductory level of the special theory of relativity, with requisite mathematical background.
The web version will always have some more refinements, add-ons, content expansion, clarifications etc that are not to be found in the actual lecture I delivered. Because talking to the hello world is always relaxing and has as much time available as is comforting.
Let us consider an inertial frame of reference, . The space and time coordinates of any event occurring in frame S are given by
and
.
Now let us consider another frame of reference which is inertial but moves wrt frame
, at speed
, along
direction.
The coordinates of the same event in the frame are given as:
. The relationship among the coordinates of any event in two different frames of reference both of which are inertial frames, is known as Galilean Coordinate Transformation or Galilean Transformation.
If we assume that time passes by at the same rate in both and
frames, the resulting laws satisfy Newtonian Relativity. We say time is an absolute quantity in an infinitude of equivalent inertial frames of references as the rate of time change is independent of the particular inertial frame of reference we have chosen. Consequently:
.

Accordingly we can write the Galilean transformation rules.
These equations relate the space and time coordinates. What-if we want to know how the velocities of objects in and
frames are related? We need to differentiate the above transformation rules to obtain that.
.
We see that the first equation above can be re-arranged to look like: .
The above equation is known as velocity addition rule in Newtonian Relativity. This is valid only for classical mechanics in the sense of speed of objects and speed of frame of reference, which are quite insignificant with respect to the speed-of-light value.
Velocity addition is nothing but a relation of velocities of objects in different frames among each other. So its exactly what we call “relative velocities” in elementary mechanics. Relative velocity, velocity addition and velocity transformation are the exact same thing. Read more about these here and here. The second link also expounds on what happens when speeds approach that of light.
Limitations of Newtonian relativity
When speeds etc become extremely high, e.g. become close to speed-of-light value of
the relations known as Galilean transformation (rules) which contain in them Newtonian velocity addition or relative velocity formula are no more valid.
The equations or laws of physics should have the same form in all frames of reference. But at high speed i.e. this is no longer the case. Equations of electricity and magnetism begin to change their form under Galilean transformations when the speeds approach their ultimate value known as speed of light limit.
At high speed electromagnetic phenomena can’t be described correctly by Galilean transformation rules of the Newtonian relativity. There is yet another snag when we approach the speed of light-limit. Although this is actually a special case of the transformations rules invalidity its interesting to make it explicit the following way.
Speed of light is supposed to be a constant value in all frames of references in free space as was widely established experimentally and through the theoretical works of Maxwell and others that was in line with these experimental observations.
But as we just saw the velocity addition rule — boxed equation above, and when applied to speed of light in different frames:
thus according to Newtonian relativity c is no longer an absolute value as expected.
This can be considered to be a limitation of the Newtonian relativity as experiments and theory have thrown an exception to its validity.
Invariance under Galilean transformation in Newtonian relativity
Transformation laws in general can change quantities from one frame of reference to another.When a quantity does not change from one frame of reference to another under the action of transformation laws such quantities are known as Invariant quantities.
Lets differentiate the Galilean transformation rules as stated above, twice. We see that , so acceleration is an invariant quantity.
Similarly distance of separation between two events and
are same in both frames
and
under Galilean transformation.
Potential energy is similarly an invariant under Galilean transformation.
Similarly forces are invariant quantities under the Galilean transformation — as are accelerations: .
Newton’s laws of motion and equations of motion as well as energy and momentum conservation laws also retain their explicit forms under Galilean transformation.
Under Galilean transformation
- Laws of mechanics are invariant.
- Laws of electromagnetism are not invariant — as we already saw, under GT,
.
Newtonian relativity can be summarized as follows “the motion of bodies included in a given space are the same amongst themselves whether that space is at rest or moves uniformly forward in a straight line”.
Thus Newtonian or Galilean relativity is in contradiction with Maxwell’s laws of electromagnetism.
3 situations arise to resolve this.
Situation i. Relativity principle exists for mechanics. No relativity principle exist for electrodynamics. There is a preferred or absolute frame in Electrodynamics by the name ether. If this holds true we can find the ether frame by performing experiments on the basis of Galilean transformation rules.
Situation ii. Relativity principle exist for both mechanics and electrodynamics but Maxwell’s laws are not correct. We could experimentally verify deviations from Maxwell’s equations. Galilean transformation is applicable, i.e. valid.
Situation iii. Relativity principle exist for both mechanics and electrodynamics. But Newtonian laws are not completely correct. Galilean transformation rules are not completely correct.
Michelson – Morley experiment
the Michelson-Morley experiment was formulated to measure any possible existence of an absolute frame of reference ether so that speed of light value c, wrt ether is constant and in accordance with Maxwell’s electromagnetic laws. The goal was therefore to see if c takes different values when different media are traversed wrt the absolute ether frame, i.e. when there is relative motion between the given media and the hypothesized absolute frame of the ether.




An observer moving through ether with velocity would measure a velocity of
for light, where
. The earth’s orbital speed of
would constitute a velocity
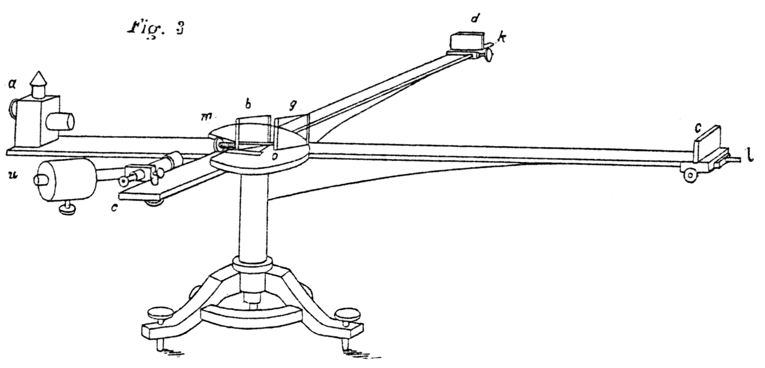
wrt ether if ether exists universally. Michelson’s interferometer has been shown in several diagrams above.
Let us calculate the fringe shift due to relative motion which creates optical path differences for beam 1 and beam 2.


Beam 1: .
Beam 2: .
.
Difference in transit time is given by: .
If the set up is rotated role of
and
are interchanged.
.
Thus: .
Using binomial expression and dropping higher order terms than 2nd order:
.
If is the number of fringes shifted, with the usual definition of the time period
we have:
.
i.e.
According to calculation of Michelson and Morley they expected i.e.
of shift in a fringe. They used a value of —
.
But Michelson and Morley observed zero shift in fringe. This disproved the existence of an absolute ether frame.
Postulates of special theory of relativity
In 1905 Einstein put forward his famous theory of relativity postulates.
- The laws of physics are the same in all inertial frames of references. No inertial frame is preferable over any other.
- speed-of-light in free space has same value c, in all frames of references.
The first of the above postulates is known as principle of relativity. It says motion is relative, there is no absolute rest or absolute motion. The second postulate is known as principle of constancy of speed-of-light. Its consistent with the results of the Michelson Morley experiment but contradicts the Galilean transformation law.

Leave a comment